CARACTERÍSTICA
ORIENTAÇÕES
É recomendável a realização do teste do Balão (balonete, cuff) deste produto, preliminarmente à inserção no paciente, conforme instruções abaixo. Isto busca evitar reclamações sobre eventuais problemas com o produto após a instalação.
1) Verifique na embalagem do produto o volume em Mililitros (ML) utilizada para insuflar o balão;
2) Com o auxílio de uma seringa, utilize água destilada para insuflar o balonete de acordo com o volume em ML recomendado;
3) Com o balão preenchido, verifique se há algum tipo de vazamento.
4) Caso o balão não apresente problemas, siga ao procedimento de instalação no paciente.
5) Caso apresente algum problema no teste, estabeleça contato com nosso atendimento para orientações.
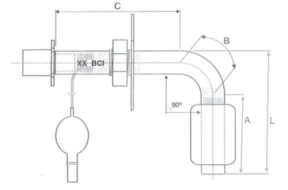
MEDIDAS E CALIBRES
|
CÂNULA TRAQUEOSTOMIA |
|||||||
|
Nominal D.I (mm) |
D.E. (mm)
|
Espessura da parede unilateral |
A (mm) |
B (mm) |
C (mm) |
(L) (mm) Comprimento intratraqueal |
Ângulo |
|
7,0 mm |
10,4 mm |
1,7 mm |
28,0 |
36,0 |
30,0 |
55 |
90º |
|
8,0 mm |
11,4 mm |
1,7 mm |
33,0 |
40,0 |
47,0 |
60 |
90º |
|
9,0 mm |
12,4 mm |
1,7 mm |
43,0 |
44,0 |
62,0 |
70 |
90º |
|
10,0 mm |
13,4 mm |
1,7 mm |
44,0 |
44,0 |
63,0 |
75 |
90º |
|
11,0 mm |
14,4 mm |
1,7 mm |
44,0 |
44,0 |
65,0 |
75 |
90º |

|
DIAMETRO DO BALÃO |
|||
|
Nominal D.I (mm) |
ØD (mm) |
H (mm) |
Capacidade do balão* (ml) |
|
7,0 mm |
22,0 mm |
25,0 mm |
8,60 ml |
|
8,0 mm |
24,0 mm |
30,0 mm |
11,30 ml |
|
9,0 mm |
25,0 mm |
40,0 mm |
19,70 ml |
|
10,0 mm |
26,0 mm |
40,0 mm |
23,00 ml |
|
11,0 mm |
26,0 mm |
40,0 mm |
23,00 ml |
* Pressão + 20 mbar / Temperatura 20 ºC

COMPOSIÇÃO
INDICAÇÃO DE USO/FINALIDADE
ADVERTÊNCIAS, PRECAUÇÕES, CUIDADOS ESPECIAIS E ESCLARECIMENTO SOBRE O USO DO PRODUTO
A cânula para traqueostomia só deve ser utilizada no paciente quando prescrita pelo médico. O médico que trata o paciente e conhece suas necessidades decidirá pelo tamanho apropriado da cânula, de acordo com a doença subjacente do paciente. O médico deve ler cuidadosamente as instruções abaixo mencionadas. Estas devem ajudar a avaliar o risco que está sempre associado a todas canulações e reagir corretamente na eventualidade de uma complicação (dispnéia), como também cientificar da necessidade e importância de seguir rigorosamente sua orientação.
A introdução de uma cânula para traqueostomia na traquéia através do traqueostoma aumenta sempre a resistência à passagem do ar (devido à posição da cânula para traqueostomia na própria traquéia e ao seu diâmetro interno que é mais reduzido). Nos pacientes em que as vias aéreas superiores se encontram obstruídas (no nível da laringe ou mais acima), este aumento da resistência à passagem do ar não é significativo quando em repouso, desde que a cânula tenha a dimensão adequada. O aumento do esforço respiratório nos pacientes que usam uma cânula, apenas se torna evidente com o esforço físico.
Nos pacientes que tenham problemas de obstrução pulmonar (por exemplo, asma brônquica), a canulação pode, por vezes, tornar o esforço respiratório evidente, mesmo em repouso, no entanto, estando as vias aéreas superiores livres, até certo ponto o paciente poderá respirar pela cânula para traqueostomia, desde que o balão da cânula não esteja insuflado.
ESTERILIZAÇÃO, CONSERVAÇÃO E ARMAZENAMENTO
O conjunto de cânula para traqueostomia é fornecido estéril sendo sua esterilização por Óxido de Etileno. A esterilidade é garantida desde que a embalagem não seja danificada ou violada. Não voltar a esterilizar o produto e não utilizar após a data de validade da esterilização. Material de uso único, não pode ser reprocessado.
Condições de armazenamento: armazenar, transportar e manipular em local limpo, seco e ventilado.
Prazo de validade garantido, por 05 anos a partir da data de esterilização, desde que as condições de armazenamento sejam respeitadas e a embalagem não seja danificada ou violada.
DESCARTE DO PRODUTO
O descarte de produtos contaminados, devem obedecer a orientação técnica de cada instituição ou empresa.
Produto de uso único devendo ser descartado conforme legislação ambiental e sanitária vigente no país. Recomendamos a incineração do produto utilizado e contaminado, avariado ou vencido.
Para produtos passiveis de reprocessamento perante a Anvisa aplicar a RDC 15/2012.
Fabricante: Electroplast - BCI · Registro ANVISA nº 10297020064
Para obter informações adicionais ligue para Total Médica · Atendimento ao Cliente no (61) 3233-9706 ou no E-mail atendimento@totalmedica.com.br.
Sua primeira escolha em produtos de saúde para você. Aqui você encontra um amplo catálogo de produtos para curativo, material de consumo, cuidados respiratórios, nutrição, bem-estar, equipamentos de saúde e muito mais para a sua saúde.
Utilizamos cookies para que você tenha a melhor experiência em nosso site. Para saber mais acesse nossa página de Política de Privacidade
CHC Comercio de Produtos Hospitalares LTDA | CNPJ: 19.472.613/0001-50 | Brasília – Distrito Federal | CF/DF: 08.087.370/001-35 | AFE: 0.67342424.3 | RLE · Licença de Funcionamento / Sanitária: 53201981266.| Endereço Sede: STRC 04, Conjunto F, Lote 18/20, Térreo, Entrada A, Centro de Vivência, CEP: 71.225-540 | Horário de Funcionamento: Matriz - Segunda a Sexta das 08h00 às 18h00 | Site - 24 horas por dia.
As informações contidas neste site não devem ser usadas para automedicação e não substituem, em hipótese alguma, as orientações dadas pelo profissional da área médica. Somente o médico está apto a diagnosticar qualquer problema de saúde e prescrever o tratamento adequado. Ao persistirem os sintomas, um médico deverá ser consultado. Os preços e promoções divulgados no site são válidos apenas para compras feitas pela internet. Maiores esclarecimentos, consultar o site: www.anvisa.gov.br. A Total Médica trabalha com as tecnologias mais avançadas de proteção de dados, para que você possa realizar suas compras com tranqüilidade. A privacidade e a segurança dos clientes são compromissos da Total Médica. Todos os pedidos efetuados estão sujeitos à confirmação da disponibilidade de produto em nosso estoque.